#分布式部署
# 步骤1:进入部署页面

# 步骤2:配置数据库基本信息与服务器信息
根据实际情况,配置数据库基本信息:
数据库名称:填写数据库集群名称,该名称也将作为初始数据库的名称(database name)。必须以字母开头,长度为[1,63]个字符,例如yashandb。
数据库部署形态:选择数据库部署形态,例如分布式部署。
Note:
如需复用/清理当前环境中的配置信息记录(可能会保留配置信息的场景:可视化安装成功后又卸载数据库、可视化安装失败等),可单击 [数据库名称] 输入框,在下拉选项中选择/清理对应的配置。
- 在服务器列表中,默认识别Web服务所在服务器的信息,检查确认安装路径等信息无误后单击 [尝试校验] 检查正确性。
注意选择数据库部署形态为分布式部署。

单击服务器列表上方的 [添加] 。
在弹出的对话框中,添加其他服务器信息,单击 [确定] 保存配置。

单击 [全部尝试校验] 检查正确性。

确认信息无误后,单击 [下一步] 。
# 步骤3:配置服务器sudo
在数据库配置区域,可以配置以下功能:
创建cgroup:开启表示创建用于YashanDB CPU资源管理的cgoup目录,并需填写服务器其他配置区域的cgroup目录。仅需安装可开启CPU资源管理的数据库(非级联备)时需配置该参数。
开机自启monit:开启时,守护进程将在服务器开机后自行启动并拉起YashanDB的各个进程,间接实现数据库的开机自启动。
用户添加到YASDBA用户组:开启表示将安装用户加入YASDBA组,可免密登录数据库。
上述功能开启后均需安装用户具备sudo权限,本示例使用默认配置,即仅开启将用户添加到YASDBA用户组。

确认信息无误后,单击 [下一步] 。
# 步骤4:配置数据库节点信息
在弹出的节点规模配置对话框中,根据实际规划的节点数调整相关配置,单击 [确定] 保存信息。
MN节点数量:选择MN节点数量。
CN节点数量:选择CN节点数量。
DN节点组数量:选择DN节点组数量。
DN节点数量:选择DN节点数量。
起始端口:填写数据库监听端口的起始值,若存在多个监听端口系统会根据端口划分规则自行计算,默认值为1688。
节点默认路径:填写YashanDB的数据目录,置空则默认为服务器安装路径上一级目录的yasdb_data目录,安装后修改不生效,支持数字、字母(区分大小写)以及部分符号(
/、-、_、.),最长75个字符,例如/data/yashan/yasdb_data。节点运行日志路径:填写YashanDB的运行日志路径,置空则默认为服务器安装路径上一级目录的log目录,推荐和主机列表的日志路径一致。例如/data/yashan/log。
是否开启推荐配置:开启推荐配置时,yasom将调用DBMS_PARAM高级包生成推荐参数覆盖同名配置参数,默认为开启。开启时,还需配置以下参数:
YashanDB内存占用:设置YashanDB可用服务器内存的百分比,yasom将根据该百分比计算出具体内存限制。
YashanDB CPU占用:设置YashanDB可用服务器CPU的百分比,yasom将根据该百分比计算出具体CPU限制。
表类型:选择主要业务常用的表类型,修改数据库配置参数,分布式内存库默认表类型为HEAP。
使用场景:参数调优场景,先选择数据库类型为MEM,表类型选择HEAP后使用场景选择AIM,默认内存表空间百分比为80%。
网卡配置:可以将数据库监听地址、主备复制链路地址和分布式网络通信链路地址配置为不同的网段,格式为
192.168.1.0/24。
注意校验数据库类型为MEM,表类型为HEAP,使用场景为AIM。

在SYS用户配置区域,设置数据库超级管理员SYS用户的密码,配置要求如下:
密码长度为8 - 64位。
密码中不能包含对应的数据库用户名称。
密码必须同时包含数字、字母和特殊字符。
Linux OS命令相关的特殊字符(例如
@、/、.、!、$、'等)需进行转义。
在yasom配置区域,可根据实际情况调整主yasom所在服务器和监听端口。
yasom所在服务器:默认为当前服务器IP。
LISTEN_ADDR:yasom的监听端口,默认为1675。
在推荐配置区域,检查配置信息,此处配置取至节点规模中的对应配置。
开启推荐配置后,部分参数会有固定值,无法修改。参数如下: +--------------------------------+-------------+---------+ | name | recommend | restart | +--------------------------------+-------------+---------+ | DATA_BUFFER_SIZE | 5498M | True | | VM_BUFFER_SIZE | 741M | True | | WORK_AREA_STACK_SIZE | 1M | True | | WORK_AREA_POOL_SIZE | 16M | True | | WORK_AREA_HEAP_SIZE | 2048K | True | | SHARE_POOL_SIZE | 741M | True | | LARGE_POOL_SIZE | 112M | True | | MAX_PARALLEL_WORKERS | 12 | True | | SCOL_DATA_BUFFER_SIZE | 128M | True | | SCOL_DATA_PRELOADERS | 2 | True | | COLUMNAR_WORK_AREA_HEAP_SIZE | 32M | True | | COLUMNAR_VM_BUFFER_SIZE | 128M | True | | COLUMNAR_BULK_SIZE | 1024 | True | | COMPRESSION | LZ4 | True | | PQ_POOL_SIZE | 128M | True | | MAX_SESSIONS | 128 | True | | MAX_WORKERS | 0 | True | | TAB_QUEUE_WINDOW_SIZE | 8 | True | | BLOOM_FILTER_FACTOR | 0.5 | True | | DEGREE_OF_PARALLEL | 1 | True | | MMS_DATA_LOADERS | 3 | True | | CHECKPOINT_INTERVAL | 192M | False | | CHECKPOINT_TIMEOUT | 60 | False | | REDOFILE_IO_MODE | DIRECT | True | | DATAFILE_IO_MODE | DEFAULT | True | | COMMIT_LOGGING | IMMEDIATE | False | | RECOVERY_PARALLELISM | 2 | True | | REDO_BUFFER_SIZE | 16M | True | +--------------------------------+-------------+---------+在插件配置区域,可按需选择需要安装的插件。
在yasagent配置区域,可按需调整以下配置:
yasagent LISTEN_ADDR:yasagent的监听端口,默认为1676。
DB自适应内存限制:仅当开启推荐配置时,必须配置内存限制,格式为
数字 + 空/K/M/G/T,取值范围[节点数 * 1536M,服务器最大内存]。包含节点:显示每个服务器上对应部署的节点信息,带星标的节点角色为主,其他为备。可拖拽节点调整节点分布。
在节点配置区域,可按需调整以下配置:
修改节点规模:增删节点/节点组。例如单击 [增加节点组] ,可增加DN节点组;单击节点组(如下图mng1)旁边的**[+]** ,可为该MN组增加节点;单击节点名称(如下图mng1-1)旁边的删除标志,可删除该节点。
展开数据库节点列表,单击节点名称(如下图mng1-1),可查看节点信息,并可按需调整相关配置。
注意校验推荐配置打开,表类型为HEAP,使用场景为AIM。

- 确认信息无误后,单击 [下一步] 。
# 步骤5:设置建库参数
在 [数据库建库参数] 页面,确认信息无误后,单击**[下一步]** 。
注意校验DB_TYPE当前值为MEM。

# 步骤6:设置配置参数
注意校验ENABLE_DSTB_DN_EXEC当前值为ON。
在 [数据库节点参数] 页面,可按需增/删/改各节点的参数,确认信息无误后,单击**[保存并下一步]** 。

# 步骤7:部署数据库
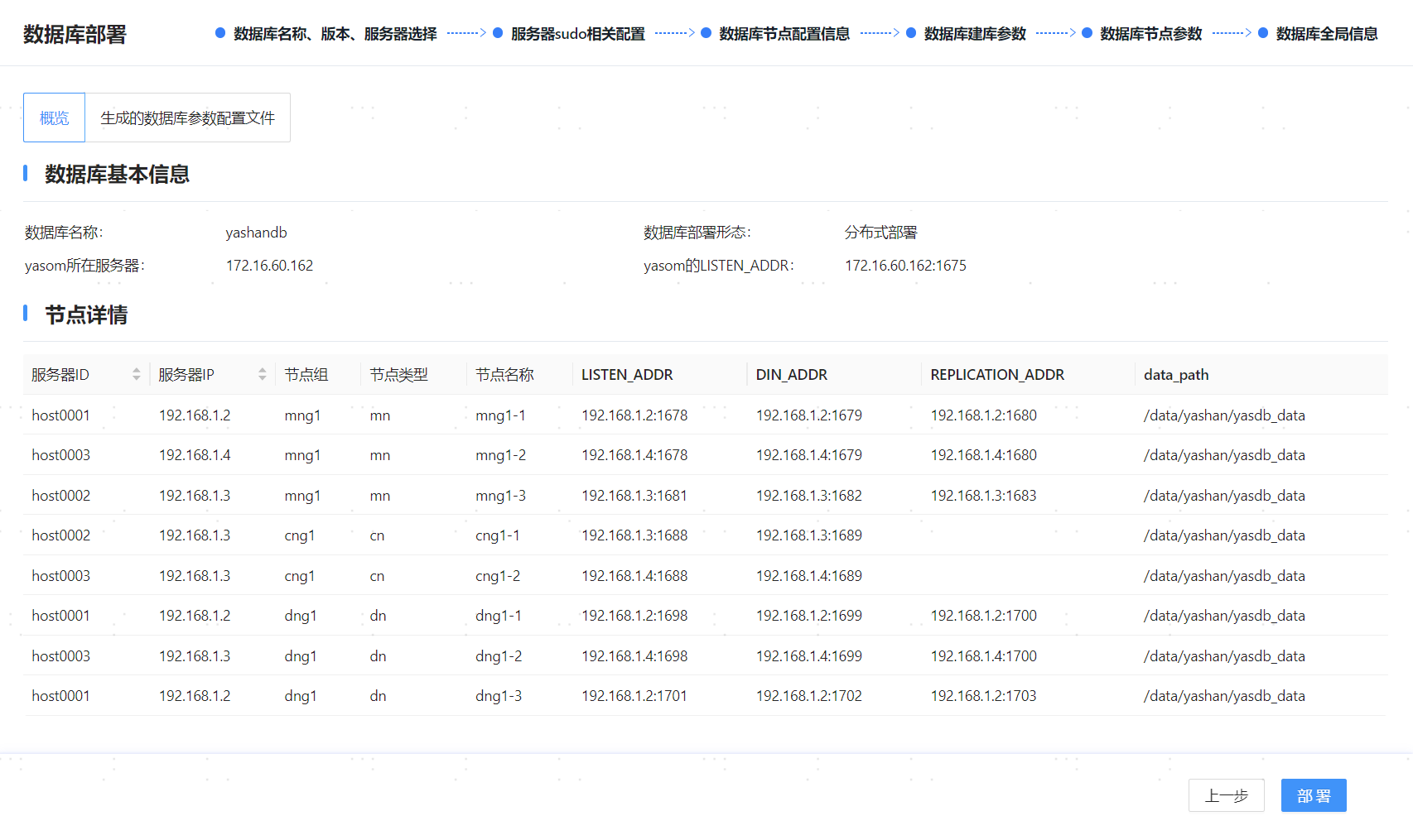
在 [数据库全局信息] 页面,确认信息无误后,单击**[部署]** 。

Note:
部署完成后,yasom会在
/home/yashan/install/conf/SE/yashandb目录中生成hosts.toml和yashandb.toml文件,其中yashandb为数据库名称,此目录为安装目录。
# 步骤8:配置环境变量
以安装用户登录到每个服务器上,执行如下命令生效环境变量。
# 部署命令成功执行后将会在$YASDB_HOME目录下的conf文件夹中生成<<集群名称>>.bashrc环境变量文件
$ cd /data/yashan/yasdb_home/{版本号}/conf
# 如~/.bashrc中已存在YashanDB相关的环境变量,将其清除
$ cat yashandb.bashrc >> ~/.bashrc
$ source ~/.bashrc
# 步骤9:检查安装结果
若连接报错或执行SQL语句报错,请根据错误提示信息检查安装步骤,或咨询我们的技术支持。
使用yasql工具连接数据库,查看实例状态。
$ yasql sys/********@192.168.1.3:1688 SQL> SELECT STATUS FROM v$instance; STATUS ------------- OPEN SQL> SELECT database_name FROM v$database; DATABASE_NAME ---------------------------------------------------------------- yashandb(可选)创建数据库用户并赋权,更多操作请查阅用户管理。
SQL> CREATE USER sales IDENTIFIED BY sales; SQL> GRANT CONNECT TO SALES;


